
Miniature Bearings Australia
MLM-200M-150-Z-ECO - Datasheet
ECO
Category Information
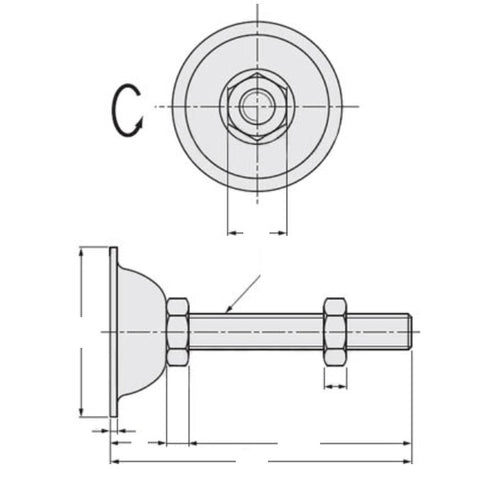
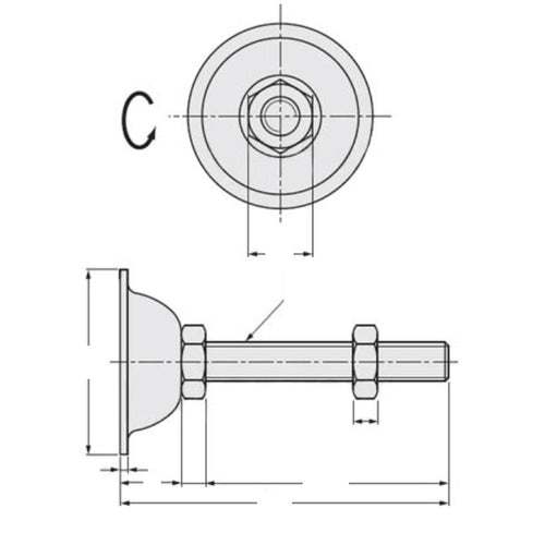
Mounts - Levelling Studded - Economy - Plain BasePlain Base Economy Levelling Studded Mounts. Levelling adjusters. Protects general metalworking processes equipment including punch presses, milling machines, lathes, mixers, injection moulding machines, grinders from shock and vibration.
- An expanded range may be available on special order. Please enquire.
Product Data
- Thread Size (A) : M20 (20x2.5mm)
- Base Diameter (D)
75.0
mm
(Equiv. 2.953 in.) - Foot Height (C)
35.0
mm
(Equiv. 1.378 in.) - Thread Length (F) 150.0 mm
- Base Height (E) 33.0 mm
- Overall Height 185.0 mm
- Load Rating 66.64 Kg
- Pad Thickness 2 mm
- Pad Material Metal
- Hex Flats (B) 30 mm
- Material Steel - Zinc
Product Compliance and Data
Additional Resources
Cross References
- Misumi C-CNFJN20-150
- CCNFJN20150


