
Miniature Bearings Australia
EGZM-05-75 - Datasheet
Iglidur
Category Information
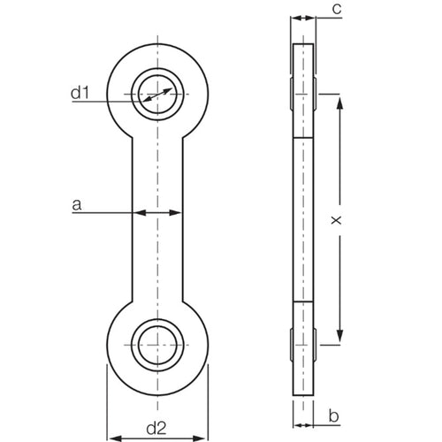
Joints - Dual Eye - ParallelParallel Dual Eye Joints.
- Maintenance free - self lubricating thermoplastic.
- Mechanical joining linkage.
- Self aligning to compensate for angular misalignment.
- MSTS = Maximum Static Tensile Strength.
- MSAS = Maximum Static Axial Compressive Strength.
Product Data
- Eye Size (d1)
:
5.00
mm
+0.020 / +0.068
(Equiv. 0.197 in.) - Housing OD (d2)
20.00
mm
(Equiv. 0.787 in.) - Centre Distance (x)
75.00
mm
(Equiv. 2.953 in.) - Head Thickness (b) 4.00 mm
- Ball Outer Edge (a) 10.00 mm
- MSTS (Short Term) 1100 N
- MSTS (Long Term) 550 N
- MSAS (Short Term) 500 N
- MSAS (Long Term) 250 N
Product Compliance and Data
Additional Resources


