
Miniature Bearings Australia
SSJ-8RS - Datasheet
MBA
Category Information
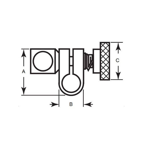
Joints - Swivel - Knob Style - Stainless SteelStainless Steel Knob Style Swivel Joints. Precision made. Column lock feature. Will not become loose when adjusting. Universal design will fit any make of magnetic base, surface gauge or indicator. 303 Stainless Steel.
- Designed for stability these clamps offer a strong and steady, hold tightly securing your dial indicator throughout the testing process. This ensures precision in every reading minimizing measurement errors and increasing efficiency in your projects.
- Also known as Swivel Clamps.
Product Data
- Hole Size
:
12.70
mm
(Equiv. 0.5 in.) - Hole Size
9.53
mm
(Equiv. 0.375 in.) - A
26.988
mm
(Equiv. 1.063 in.) - B 15.875 mm
- C 25.400 mm
Product Compliance and Data
Additional Resources


